恒大一番自救,债务危机并未完全化解。12月3日,一则颇具“躺平”意味的公告再度掀起不小的动荡。

(图片来源:网络,侵删)
12月3日,恒大公告表示,可能无法履行2.6亿美元担保责任,并向广东省人民**请求派出工作组进入公司内部,维持稳定。
在此情况下,受恒大债务危机波及上下游企业坐不住了,正加紧用各种形式,尽力弥补损失。近日,苏州金螳螂建筑装饰股份有限公司接盘恒大旗下子公司“平湖恒大名都置业有限公司”持有的常熟穗华置业有限公司49%股权。
与此雷同的是,12月4日,河南恒大家居产业园有限公司(以下简称“恒大家居”)退出河南喜临门家居有限责任公司(以下简称“河南喜临门”)40%股权,喜临门家具股份有限公司(以下简称“喜临门”)接盘,目前100%持股河南喜临门。
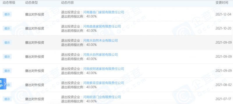
据查,7月至今,恒大家居产业园已退出共7家合资公司全部股权(均占40%股权),均由合作的家居企业接盘。目前,恒大家居产业园旗下已无正在运营的子公司。
清退了6家股权
河南喜临门家居原名河南恒大喜临门家居有限责任公司,成立于2017年1月16日,其中恒大家居产业园持股40%,喜临门持股60%。成立初期,该公司法定代表人为沈冬良。
据查,沈冬良2011年加入喜临门,曾任公司总经理、常务副总经理、副总经理、采购部经理。现任喜临门副董事长。
2020年12月,河南喜临门法定代表人变更为丁春锋,董事陈岳城、监事葛绪昭退出,新增丁春锋任总经理、陈岳诚任董事、何玉轩任监事。
一年后,12月4日,随着恒大家居产业园的退出,喜临门正式100%持股河南恒大喜临门家居,同日,该公司名称变更为河南喜临门家居有限责任公司,把恒大剔除。同时,鲁伟、杨刚、刘伟锋 、陈岳诚退出董事职务;何玉轩、毛朋飞退出监事职务。沈冬良从董事长调整为执行董事。
喜临门并不是首例,在此之前,恒大家居产业园已从5家合资企业中撤出,且手法如出一辙。
7月2日,江山欧派发布称,受让恒大家居产业园持有的“河南恒大欧派有限责任公司”40%股权,受让价格为7250.35万元;半个月后,7月20日晚,索菲亚公告称,以1.6亿元受让恒大家居产业园所持的“河南恒大索菲亚家居有限责任公司”40%股权。
9月7日,皮阿诺公告称,受让恒大家居产业园持有的“河南恒大皮阿诺家居有限责任公司”40%股权,受让价格为7920万元;9月10日,恒大家居产业园转让河南大自然家居、河南大自然木业40%股份予大自然家居;10月13日,曲美家居公告称,拟受让恒大家居产业园持有的“河南恒大曲美家居有限责任公司”40%股权,交易价格为7200万元。

值得注意的是,这些股权转让都是以债权债务相互抵销的方式进行处理,无需以实际的现金款项转让支付。
曲美家居在公告中披露,因贸易合作收到恒大7260.86万元商票,协议约定,恒大同意将所持河南恒大曲美公司40%股权转让给曲美家居,股权转让价款为7200万元。上述股权转让价款的支付,三方均同意以上述7260.86万元的债权相互抵消的方式处理。
昔日强强联合
时间拨回2016年,此时,恒大集团正值鼎盛,是众多下游家居企业的第一大客户。
心念家乡的许家印,100亿元巨资加码投资兰考。5月12日,恒大集团与兰考县**签约,称将联合多家家居企业,在兰考建设恒大家居联盟产业园,并将其打造成为中部家居产业聚集区。建成后,该产业园将成为亚洲最大的家居产业园。
凭借恒大的影响力,家居企业蜂拥而至。据悉,2016年连同恒大一共前往兰考考察签约的家居企业就有7家,包括索菲亚、曲美、广东顶固集创、喜临门、广东联邦家私、深圳仁豪家居和深圳森堡家私。
2016年年底,河南恒大家居产业园有限公司正式成立,注册资本1亿元,法定代表人贾飞。仅20天后,喜临门、曲美家居和索菲亚,三大知名家居品牌就公告宣布与河南恒大家居产业园签约,设立合资公司。股权结构均是恒大持股40%,家居企业持股另60%。
按照约定,恒大方面负责组织厂房建设,配合销售该公司产品。在同等条件下,恒大地产将优先采购该公司生产的产品。家居企业方则负责合资公司的厂区规划设计生产、研发、销售、日常管理等公司运营事务。三家合资公司项目产出主要配套恒大的精装房市场。
随后,江山欧派、皮阿诺、大自然也与河南恒大家居产业园展开合作,分别成立合资公司。按恒大的规划,后续入驻河南家居产业园的家居品牌企业会多达50多家。
债务暴雷
上游与下游成立合资公司,有利于合作关系的长期稳定,也有助于降低采购成本。本是互惠互利的好事情,但随着恒大巨额债务暴雷,合作戛然而止。
目前,据股权架构图显示,恒大家居产业园旗下仅余一家子公司“河南隆广检验检测有限公司”,恒大家居产业园持股45%,兰考县公共检验检测中心持股另55%,为实际控制人。但该公司目前显示为“注销”状态。恒大大手笔布局家居产业的宏愿,如今只剩一地鸡毛。

(图片来源:企查查,侵删)
体量庞大的恒大集团,对众多家居企业影响甚远。一朝暴雷,家居企业多受其害。能通过收购股权抵消商票的家居企业已经算是幸运儿,更多受恒大债务波及的家居企业还在寻求解决办法。
据不完全统计,截至2021年9月30日,恒大与6家下游供应商的应付账款及应付票据余额合计为63.65亿元。
数据显示,恒大对东鹏控股应收票据、应收账款余额为7.92亿元;截至6月30日,全筑股份持有的恒大的逾期商票余额就有近11亿元,计提坏账准备高达2.13亿元;以恒大为第一大客户的三棵树,于今年8月末,仍有尚未到期的中恒大及旗下公司出具的商业承兑汇票共计3.34亿元。三棵树表示,仍在协商解决中,未有明确的计划。
而以上企业业绩均出现不同程度下滑。今年前三季度,东鹏控股净利润为3.91亿元,同比下滑25.23%,经营现金流为3.28亿元,同比下降58.24%;全筑股份净利润为-1.73亿元,同比下滑265.34%,经营现金流为-2.33亿元,同比下降318.29%;三棵树净利润仅6401.71万元,同比下降80.3%;经营现金流仍为负数,为-4515.63万元。